Cauta produsul dorit:
Bun venit! [Autentificare!] In cos: 0 produse








Top » Piese de schimb » PIESE SKIL » F0156901B2

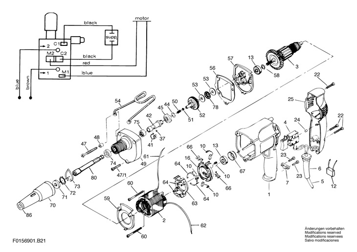
SCULA DE STRUNJIT (F0156901B2) 6901 U2 / 230 V /EU
[F0156901B2]

SCULA DE STRUNJIT  (F0156901B2)  6901 U2 / 230 V /EU
Click pentru a mari
Imagini suplimentare
SCULA DE STRUNJIT  (F0156901B2)  6901 U2 / 230 V /EU
Click pentru a mari
LISTA DE COMPONENTE:
Numar Versiune Buc. in schema Denumire Pret/buc
(Tva inclus)
Cumpara
1 1 1 CARCASA (2610905362) 5032 RON
2 1 1 STATOR 230V (2610353999) 12588 RON
3 1 1 Rotor 230V (2610350788) 17223 RON
4 1 1 INTRERUPATOR (2610910316) 8946 RON
5 1 1 CABLU (2610371498) 2868 RON
6 1 1 MUFA (2610313327) Indisponibil Indisponibil
7 1 1 BRATARA DE CABLU (2610064973) 558 RON
10 1 2 PERIE DE CARBUNE (2610354369) 2868 RON
12 1 1 CONDENSATOR DEPARAZITARE (2610352867) 1676 RON
13 1 2 RULMENT (2610351861) 3466 RON
16 1 1 CORP DE RACORDARE (2610348614) 2794 RON
22 1 3 SURUB (2610348622) 558 RON
23 1 2 SURUB ST3,9x19 (2610315386) 558 RON
24 1 1 BUSON (2610028780) 558 RON
25 1 1 SET MANER (2610905360) 1229 RON
37 1 1 BILA (2610002144) 558 RON
41 1 1 ARC (2610355206) 558 RON
42 1 1 AX (2610355210) 11071 RON
44 1 1 INEL (2610350763) 558 RON
45 1 1 CUPLAJ (2610358007) 13532 RON
47 1 2 SURUB (2610350943) 558 RON
47/1 1 1 SURUB (2610348621) 558 RON
48 1 2 SAIBA DE DISTANTARE (2610350941) 781 RON
49 1 1 CARCASA (2610905379) 2794 RON
50 1 1 ARC (2610015241) 558 RON
51 1 1 BUTON (2610015236) 781 RON
52 1 1 AX (2610358010) 31232 RON
53 1 2 SAIBA, DISC (2610350776) 558 RON
54 1 1 CLIPS DE PRINDERE SCULA (2610350939) 2794 RON
56 1 1 GARNITURA (2610348570) 558 RON
57 1 1 CAPAC DE LAGAR (2610350765) 4584 RON
58 1 1 2610931268 - Indisponibil
59 1 1 PROTECTIE SOC (2610348586) 893 RON
60 1 2 SURUB (2610348628) 558 RON
61 1 1 2610038676 - Indisponibil
62 1 1 CONDUCTOR ELECTRIC 240 MM ROSU (2610038649) 893 RON
63 1 1 CORP DE RACORDARE (2610348613) 1117 RON
64 1 1 INTRERUPATOR (2610350352) 1229 RON
66 1 2 PARGHIE (2610909603) 558 RON
67 1 1 INEL DE CAUCIUC (1619P01127) 558 RON
70 1 1 NAS, CIOC (2610355211) 3354 RON
71 1 1 GARNITURA (2610351851) 893 RON
72 1 1 SUPORT (2610351853) 558 RON
73 1 1 ARC (2610352893) 1117 RON
74 1 1 GARNITURA (2610350781) 1676 RON
75 1 1 RULMENT CU ACE (2610355209) 3689 RON
78 1 1 LAGAR (2610350777) 2123 RON
80 1 1 ADAPTOR (2610355217) 5926 RON
86 1 1 INSERTIE (2610355212) 2794 RON

Conditii Generale