Cauta produsul dorit:
Bun venit! [Autentificare!] In cos: 0 produse








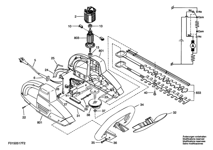
Top » Piese de schimb » PIESE SKIL » F0150517F2

FOARFECE DE TUNS GARD VIU (F0150517F2) 517H2 / 230 V /
[F0150517F2]

FOARFECE DE TUNS GARD VIU  (F0150517F2)  517H2 / 230 V /
Click pentru a mari
Imagini suplimentare
FOARFECE DE TUNS GARD VIU  (F0150517F2)  517H2 / 230 V /
Click pentru a mari
LISTA DE COMPONENTE:
Numar Versiune Buc. in schema Denumire Pret/buc
(Tva inclus)
Cumpara
2 1 1 STATOR 230-240V (2610385848) 5479 RON
4 1 1 INTRERUPATOR (2610385924) 2794 RON
5 1 1 CONDUCTOR DE RETEA EU 0,46m 2 x 1,0mm H05 VV-F (2604460255) 2868 RON
6 1 1 MUFA (2610360176) 558 RON
10 1 1 SET DE PERII DE CARBUNE (2610386207) 2794 RON
13 1 2 RULMENT CU BILE 8x22x7 MM (2600905052) 2459 RON
22 1 10 SURUB CU CAP SEMIROTUND T T20-8x19 MM (2610374919) Indisponibil Indisponibil
23 1 2 STIFT (2610385639) 558 RON
24 1 1 PARGHIE (2610385614) 1117 RON
25 1 1 ARC (2610385638) 893 RON
26 1 1 MANETA DE DECLANSARE (2610386691) 558 RON
27 1 1 PIESA ARTICULATA (2610386692) 558 RON
28 1 1 PUNTE LAGAR (2610387049) 3689 RON
29 1 1 PLACA DE BAZA A LAGARULUI (2610386690) 558 RON
30 1 1 TACHET (2610385615) 558 RON
31 1 1 ARBORE AL PARGHIEI (2610386689) 558 RON
32 1 1 CAPAC DE PROTECTIE (2610385643) 2123 RON
34 1 1 SET MANER (2610385642) 5479 RON
35 1 4 SURUB (2610386158) 558 RON
36 1 4 SAIBA, DISC (2610386159) 558 RON
37 1 1 SAIBA, DISC (2610386977) 558 RON
38 1 1 ROATA DINTATA (2610387056) 8946 RON
40 1 7 SURUB AUTOFILETANT (2603413026) Indisponibil Indisponibil
41 1 1 IZOLATOR (2610386189) 558 RON
801 1 1 CARCASA MOTOR GRI (2610386890) 13532 RON
803 1 1 Rotor 230V (2610388974) 13532 RON
833 1 1 SET CUTITE (2607001303) 17223 RON

Conditii Generale