Cauta produsul dorit:
Bun venit! [Autentificare!] In cos: 0 produse








Top » Piese de schimb » PIESE METABO » 0910009222 10

Work CLAMP KGT - 0910009222 10 - -
[0910009222 10]

Work CLAMP KGT - 0910009222 10 - -
Click pentru a mari
Imagini suplimentare
Work CLAMP KGT - 0910009222 10 - -
Click pentru a mari
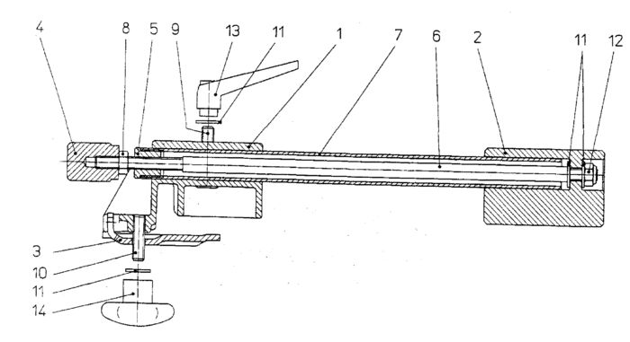
LISTA DE COMPONENTE:
Numar Versiune Buc. in schema Denumire Pret/buc
(Tva inclus)
Cumpara
1 1 1 CLAMPING PAD (81380209515) 24046 RON
2 1 1 CLAMPING BODY 50X50X80 (81381209535) 26730 RON
3 1 1 CLAMPING PLATE BL 2,99X60X88 KGT-SPANNVO (81482209528) 7157 RON
4 1 1 TURN HANDLE RD 25X30 (81385209572) 3689 RON
5 1 1 THREADED PIECE SW 17X18 / M 18X14 SPANNV (81485209561) 11519 RON
6 1 1 THREADED ROD M8X340 SPANNVORRICHTUNG (81485209553) 11519 RON
7 1 1 SETTING TUBE DA=RD 20X2,5X280 SPANNVORRI (81485209545) 11519 RON
8 1 1 HEXAGON NUT (86200002235) Indisponibil Indisponibil
9 1 1 HEXAGON HEAD SCREW M 8X35 VERZ. (86103001208) 446 RON
10 1 1 HEXAGON HEAD SCREW M 8X30 VERZ. (86103031271) 446 RON
11 1 1 Washer (86300016322) Indisponibil Indisponibil
12 1 1 HEXAGON NUT, PREV. TORQUE TYPE (86202002305) Indisponibil Indisponibil
13 1 1 RATCHET LOCK LEVER, FEMALE (87006028653) Indisponibil Indisponibil
14 1 1 STARKNOB NUT M 8 (DIN 934) VERZINKT (87000028937) 105 RON

Conditii Generale