Cauta produsul dorit:
Bun venit! [Autentificare!] In cos: 0 produse








Top » Piese de schimb » PIESE METABO » 31463000

Table side extension - 31463000 - -
[31463000]

Table side extension - 31463000 - -
Click pentru a mari
Imagini suplimentare
Table side extension - 31463000 - -
Click pentru a mari
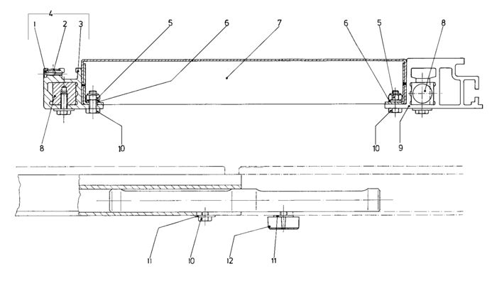
LISTA DE COMPONENTE:
Numar Versiune Buc. in schema Denumire Pret/buc
(Tva inclus)
Cumpara
1 1 1 Cap screw (141111050) 446 RON
2 1 1 Scale (338107530) 5479 RON
3 1 1 Guide rail (341144570) 21361 RON
4 1 1 Guide rail (316023300) 26730 RON
5 1 4 Hexagonal lock nut (141130650) 781 RON
6 1 4 Washer Washer cod vechi 86300016365 (141151940) 446 RON
7 1 1 Tray (316021630) 30980 RON
8 1 1 Connecting piece (341144090) 13756 RON
9 1 1 Guide rail (341145050) 24046 RON
10 1 6 Hexagon head screw (141113290) 446 RON
11 1 2 Washer ZN5BK (141150970) 446 RON
12 1 2 Thumbscrew (341110820) 1340 RON

Conditii Generale