Cauta produsul dorit:
Bun venit! [Autentificare!] In cos: 0 produse








Top » Piese de schimb » PIESE METABO » 0200017005 10

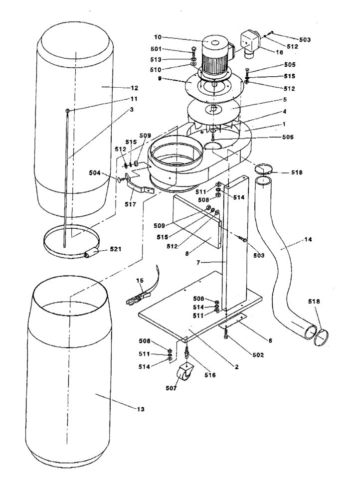
SPA 1700 D - 0200017005 10 - 3 / 400V/50Hz
[0200017005 10]

SPA 1700 D - 0200017005 10 - 3 / 400V/50Hz
Click pentru a mari
Imagini suplimentare
SPA 1700 D - 0200017005 10 - 3 / 400V/50Hz
Click pentru a mari
LISTA DE COMPONENTE:
Numar Versiune Buc. in schema Denumire Pret/buc
(Tva inclus)
Cumpara
5 1 1 IMPELLER ET (81388197729) 54357 RON
10 1 1 ELECTRIC MOTOR 400/3/50 ET (88013197734) 220451 RON
11 1 1 1385600085 - Indisponibil
12 1 1 FILTER BAG 2,0 QM FILTERFL?CHE "G" BIA N (81388193456) 41718 RON
13 1 1 4820197742 - Indisponibil
14 1 1 7854018544 - Indisponibil
16 1 1 8132193550 - Indisponibil
501 1 4 HEXAGON HEAD SCREW M 10X30 VERZ. (86103001232) 446 RON
502 1 4 HEXAGON HEAD SCREW M 8X20 VERZ. (86103001186) 446 RON
503 1 6 HEXAGON SOCKET HEAD CAP SCREW (86127059193) 446 RON
504 1 2 Hex head screw (86103001135) 446 RON
505 1 6 Hex head screw (86103015675) 446 RON
506 1 1 Hex head screw (86103001135) 446 RON
507 1 4 CASTOR, TWIN NYLON WHEELS RD 50 ET (87270197765) 2459 RON
508 1 12 HEXAGON NUT (86200002235) Indisponibil Indisponibil
509 1 6 Hex nut (86200002219) 446 RON
510 1 4 MEDIUM WASHER (86300016349) 446 RON
511 1 12 Washer (86300016322) Indisponibil Indisponibil
512 1 14 Washer Washer cod vechi 86300016365 (141151940) 446 RON
513 1 4 WASHER A 10,5 (86305002095) 781 RON
517 1 1 HANDLE ET (81381197715) 190 RON
518 1 3 HOSE CLAMP RD 90-110 / 12 SKZ (87811036697) 1564 RON
521 1 1 TIGHTENING STRAP RD 320 ET (87014197758) 30980 RON
7000 1 1 SLEEVE (81391006179) 3018 RON

Conditii Generale