Cauta produsul dorit:
Bun venit! [Autentificare!] In cos: 0 produse








Top » Piese de schimb » PIESE METABO » 0914015600 10

Sliding CARRIAGE TF 100 - 0914015600 10 - -
[0914015600 10]

Sliding CARRIAGE TF 100 - 0914015600 10 - -
Click pentru a mari
Imagini suplimentare
Sliding CARRIAGE TF 100 - 0914015600 10 - -
Click pentru a mari
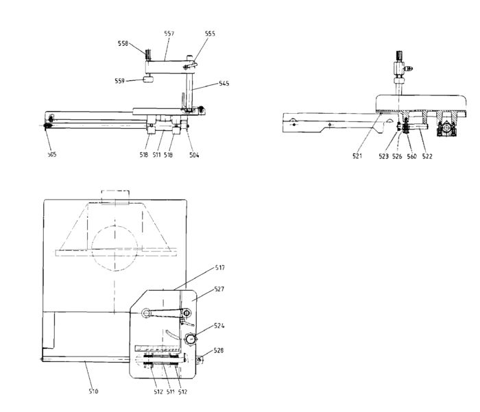
LISTA DE COMPONENTE:
Numar Versiune Buc. in schema Denumire Pret/buc
(Tva inclus)
Cumpara
504 1 1 BRACKET BL 2,99X81X610 RECHTS (81392019053) 10288 RON
505 1 1 BRACKET BL 2,99X81X610 LINKS (81392019061) 10288 RON
510 1 1 GUIDE SHAFT RD 20X517 (87122028962) 2848 RON
511 1 1 COLLAR RDA 33,7X3,6X126 KUGELBUCHSE (81395028975) 13756 RON
512 1 1 LINEAR BALL BEARING RD 20/28X30 TYP KH 2 (87121028950) 8275 RON
517 1 1 1390029043 - Indisponibil
518 1 1 BRACKET RS 5-1"/GR??E 5 (81391029055) 4249 RON
521 1 1 GLIDE PIECE 6X15X46 (81391029063) 1564 RON
522 1 1 1495101416 - Indisponibil
523 1 1 DEEP GROOVE BALL BEARING (87100136915) Indisponibil Indisponibil
524 1 1 7006018305 - Indisponibil
526 1 1 7052029117 - Indisponibil
527 1 1 FENCE LS 60X5X335 (81392029075) 21361 RON
528 1 1 CAM PLATE BL 2,99XRD25/RDI 6,5 (81482408962) Indisponibil Indisponibil
545 1 1 1495024624 - Indisponibil
555 1 1 STRAIGHT PIN, PRE-ASSEMBLED (81010131339) 3689 RON
557 1 1 CLAMPING ARM (81380220322) 8275 RON
558 1 1 THREADED BOLT RD 20X126/M 12/M 6 (81485220336) 5479 RON
559 1 1 CLAMPING ARM CAP RD 35X19 SPANNVORRICHTU (81381216434) 781 RON
560 1 1 STARKNOB NUT (87000017730) 781 RON

Conditii Generale