| 1 |
1 |
1 |
JOINTING TABLE ET (81380669214)
|
171574 RON |
|
| 2 |
1 |
4 |
BUSHING ET (81382669220)
|
4249 RON |
|
| 3 |
1 |
16 |
6103001291
|
- |
Indisponibil |
| 4 |
1 |
1 |
CONNECTING ROD ET (81382669238)
|
78180 RON |
|
| 5 |
1 |
1 |
CARRIER ET (81382669246)
|
15993 RON |
|
| 6 |
1 |
18 |
Serrated lock washer (86304084047)
|
446 RON |
|
| 7 |
1 |
2 |
CONNECTING WASHER ET (81382669254)
|
Indisponibil |
Indisponibil |
| 8 |
1 |
1 |
END PLATE ET (81382669262)
|
13756 RON |
|
| 9 |
1 |
1 |
TABLE INSERT ET (81381669277)
|
21361 RON |
|
| 10 |
1 |
1 |
SWITCH PLATE ET (81382669289)
|
18341 RON |
|
| 11 |
1 |
1 |
SWITCH 400/3/50 KLEIN (88133669290)
|
171574 RON |
|
| 12 |
1 |
1 |
VIEW DISC ET (81388669833)
|
15993 RON |
|
| 15 |
1 |
1 |
COVER ET (81382669858)
|
9821 RON |
|
| 16 |
1 |
1 |
WASHER 6X18X1,2 ET (86341669969)
|
105 RON |
|
| 17 |
1 |
1 |
STARKNOB SCREW RD40/M6X23 (DIN 933) VERZ (87001017769)
|
781 RON |
|
| 18 |
1 |
1 |
JOINTING TABLE ET (81380669869)
|
137236 RON |
|
| 19 |
1 |
26 |
Hex nut (86200002219)
|
446 RON |
|
| 20 |
1 |
1 |
Hex head screw (86103001135)
|
446 RON |
|
| 21 |
1 |
2 |
6172669008
|
- |
Indisponibil |
| 22 |
1 |
9 |
HEXAGON NUT (86200002197)
|
446 RON |
|
| 23 |
1 |
7 |
WASHER 4X10X0,8 ET (86341669977)
|
105 RON |
|
| 24 |
1 |
1 |
CARRIER ET (81382669874)
|
21361 RON |
|
| 25 |
1 |
1 |
SAW BLADE GUARD ASSEMBLY ET (81010669886)
|
59166 RON |
|
| 26 |
1 |
1 |
1383669894
|
- |
Indisponibil |
| 27 |
1 |
1 |
TABLE ET (81010669908)
|
343820 RON |
|
| 28 |
1 |
9 |
Flange nut (6209110995)
|
446 RON |
|
| 29 |
1 |
1 |
BRACKET ET (81382668959)
|
105 RON |
|
| 31 |
1 |
4 |
PLASTIC FOOT ET (87057669920)
|
4249 RON |
|
| 32 |
1 |
1 |
Switch On/Of 400/3/50 Gross (88111689068)
|
171574 RON |
|
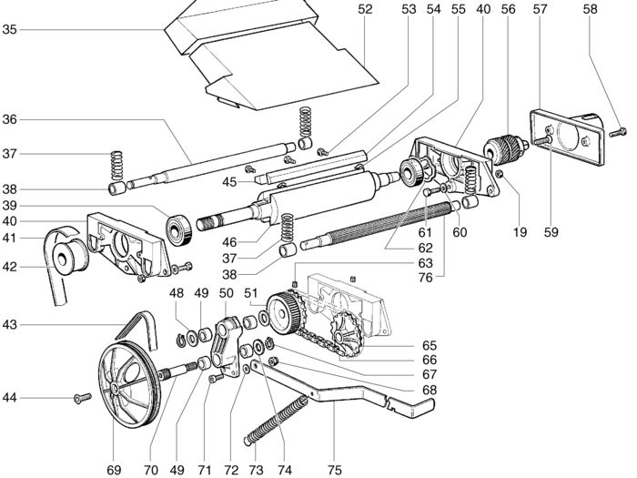
| 35 |
1 |
1 |
DISC GUARD ET (81382669939)
|
2848 RON |
|
| 36 |
1 |
1 |
1385669948
|
- |
Indisponibil |
| 37 |
1 |
4 |
PRESSURE SPRING M. 26 ET (81388667520)
|
105 RON |
|
| 38 |
1 |
4 |
BEARING BUSH 16X22X20 ET (87150667512)
|
955 RON |
|
| 39 |
1 |
2 |
DEEP GROOVE BALL BEARING 20X47X14 6204-2 (87100016820)
|
488 RON |
|
| 40 |
1 |
2 |
SEAT KNIFE CARRIER ET (81380669982)
|
30980 RON |
|
| 41 |
1 |
1 |
FLAT BELT 950X20 ET (87232669998)
|
2848 RON |
|
| 42 |
1 |
1 |
V-BELT PULLEY ET (81385670008)
|
41718 RON |
|
| 43 |
1 |
1 |
POLY-RIB BELT 483 H6 ET (87233670019)
|
Indisponibil |
Indisponibil |
| 44 |
1 |
1 |
HEXAGON SOCKET HEAD CAP SCREW M 8X16 VER (86121000790)
|
446 RON |
|
| 45 |
1 |
2 |
CUTTERBLOCK WEDGE ET (81492670029)
|
33553 RON |
|
| 46 |
1 |
1 |
CUTTERBLOCK ET (81485670030)
|
197187 RON |
|
| 48 |
1 |
2 |
WASHER 14X27X2,5 ET (86341670045)
|
105 RON |
|
| 49 |
1 |
4 |
1385670059
|
- |
Indisponibil |
| 50 |
1 |
1 |
CONNECTOR DRIVE ET (81380670069)
|
24046 RON |
|
| 51 |
1 |
1 |
GEARWHEEL ET (87247670070)
|
Indisponibil |
Indisponibil |
| 52 |
1 |
1 |
DUST EXTRACTION OUTLET ET (81381670089)
|
26730 RON |
|
| 53 |
1 |
6 |
SET SCREW RESHARPENABLE BLADE M 6 ET (86143667535)
|
Indisponibil |
Indisponibil |
| 54 |
1 |
1 |
0920054030
|
- |
Indisponibil |
| 55 |
1 |
4 |
PRESSURE SPRING ET (81388667547)
|
Indisponibil |
Indisponibil |
| 56 |
1 |
1 |
DRILL CHUCK ET (89431670094)
|
49212 RON |
|
| 57 |
1 |
1 |
DRILL CHUCK GUARD ET (81382670104)
|
8275 RON |
|
| 59 |
1 |
1 |
HEX.SOCKET COUNTERS.HEAD SCREW M 6X25/LI (86131670115)
|
190 RON |
|
| 60 |
1 |
10 |
WASHER 6X12X1,2 ET (81388666753)
|
105 RON |
|
| 62 |
1 |
1 |
BALL BEARING SHIM RING 35X46X0,25 ET (87140670124)
|
1564 RON |
|
| 63 |
1 |
1 |
CLAMPING SLEEVE 5X45 E ET (86503670141)
|
105 RON |
|
| 65 |
1 |
1 |
CHAIN SPROCKET ET (87246670166)
|
Indisponibil |
Indisponibil |
| 66 |
1 |
1 |
ROLLER CHAIN 48 GLIEDER ET (87246670174)
|
19236 RON |
|
| 67 |
1 |
9 |
RETAINING RING FOR SHAFTS (86400009935)
|
446 RON |
|
| 68 |
1 |
4 |
HEXAGON NUT, PREV. TORQUE TYPE (86202002305)
|
Indisponibil |
Indisponibil |
| 69 |
1 |
1 |
1388670181
|
- |
Indisponibil |
| 70 |
1 |
1 |
COGGED DRIVE WHEEL ET (81385670199)
|
Indisponibil |
Indisponibil |
| 71 |
1 |
1 |
HEXAGON SOCKET HEAD CAP SCREW M 8X20 VER (86121000804)
|
446 RON |
|
| 72 |
1 |
1 |
WAVE SPRING WASHER 20X8,2X0,6 ET (86341670207)
|
105 RON |
|
| 73 |
1 |
1 |
TENSION SPRING D=78 ET (87050670214)
|
5479 RON |
|
| 74 |
1 |
1 |
WASHER 12X24X2,5 ET (86341670223)
|
105 RON |
|
| 75 |
1 |
1 |
TRANSPORT ROD ET (81385672302)
|
30980 RON |
|
| 76 |
1 |
1 |
1385670245
|
- |
Indisponibil |
| 77 |
1 |
1 |
CUTTERBLOCK GUARD ET (81011671930)
|
171574 RON |
|
| 78 |
1 |
1 |
CUTTERBLOCK GUARD ET (81011671949)
|
33553 RON |
|
| 80 |
1 |
1 |
GUIDE PLATE ET (81382670252)
|
18341 RON |
|
| 81 |
1 |
4 |
HEXAGON HEAD SCREW M 6X10 VERZ. (86103015934)
|
446 RON |
|
| 82 |
1 |
2 |
WASHER 8X18X1,5 ET (86341670266)
|
105 RON |
|
| 83 |
1 |
1 |
GUARD PLATE ET (81382670279)
|
13756 RON |
|
| 84 |
1 |
6 |
WASHER 12X24X2,5 ET (86341670282)
|
105 RON |
|
| 85 |
1 |
4 |
Hex head screw (86103001178)
|
Indisponibil |
Indisponibil |
| 86 |
1 |
1 |
81388670297
|
- |
Indisponibil |
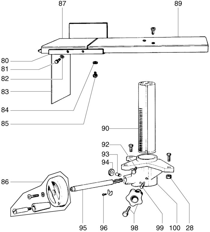
| 87 |
1 |
1 |
TABLE EXTENSION ET (81388670300)
|
41718 RON |
|
| 89 |
1 |
1 |
THICKNESSER BED ET (81380670310)
|
220451 RON |
|
| 90 |
1 |
1 |
COLUMN, HEIGHT ADJUSTMENT ET (81385670326)
|
14839 RON |
|
| 92 |
1 |
1 |
SLOTTED CHEESE HEAD SCREW M 4X10 VERZ. (86120000029)
|
446 RON |
|
| 93 |
1 |
1 |
AXLE ET (81385670334)
|
4249 RON |
|
| 94 |
1 |
1 |
GEARWHEEL ET (87247670348)
|
11519 RON |
|
| 95 |
1 |
1 |
WORM GEAR RECHTS ET (81385670350)
|
39481 RON |
|
| 96 |
1 |
15 |
HEXAGON SOCKET HEAD CAP SCREW (86121121296)
|
446 RON |
|
| 98 |
1 |
1 |
STARKNOB SCREW ET (87001670373)
|
5926 RON |
|
| 99 |
1 |
2 |
BOLT ET (81385670385)
|
5479 RON |
|
| 100 |
1 |
1 |
SEAT HIGHT ADJUSTMENT ET (81385670393)
|
117663 RON |
|
| 101 |
1 |
1 |
ANGLE BRACKET ET (81382670406)
|
8275 RON |
|
| 103 |
1 |
1 |
SEATING PROFILE ET (81383670426)
|
197187 RON |
|
| 104 |
1 |
1 |
GUIDE EXTRUSION ET (81383670434)
|
19236 RON |
|
| 105 |
1 |
1 |
KNURLED THUMB SCREW M6 ET (87009669404)
|
3689 RON |
|
| 106 |
1 |
1 |
ADHESIVE LABEL YELLOW/BLACK 1,00X16X485 (81141680150)
|
8275 RON |
|
| 107 |
1 |
1 |
WASHER 6X14X1.2 ET (81388667067)
|
105 RON |
|
| 108 |
1 |
1 |
WINDOW - HEIGHT INDICATOR ET (81388670459)
|
10288 RON |
|
| 109 |
1 |
1 |
POINTER ET (81382670465)
|
39481 RON |
|
| 110 |
1 |
1 |
BUSHING ET (81382671097)
|
24046 RON |
|
| 111 |
1 |
2 |
SUPPORT ET (81388671102)
|
19236 RON |
|
| 112 |
1 |
2 |
CONNECTING PIN ET (81385671110)
|
105 RON |
|
| 113 |
1 |
1 |
ANGLE BRACKET ET (81382671127)
|
21361 RON |
|
| 114 |
1 |
1 |
U-SHAPED RAIL ET (81382671135)
|
33553 RON |
|
| 116 |
1 |
6 |
CROSS RECESSED FLAT HEAD SCREW (86131059530)
|
446 RON |
|
| 117 |
1 |
1 |
GUARD PLATE HINTEN /ET (81382671143)
|
18341 RON |
|
| 118 |
1 |
1 |
CLAMPING PLATE ET (81382671151)
|
24046 RON |
|
| 119 |
1 |
1 |
SAFETY LEVER ET (81382671160)
|
59166 RON |
|
| 120 |
1 |
1 |
HEXAGON HEAD SCREW M 8X25 VERZ. (86103001194)
|
446 RON |
|
| 121 |
1 |
1 |
BLADE COLLAR AUSSEN /ET (81380671170)
|
5479 RON |
|
| 122 |
1 |
1 |
SAW BLADE HOUSING ET (81382671186)
|
41718 RON |
|
| 123 |
1 |
1 |
Hex head screw (86103001267)
|
781 RON |
|
| 125 |
1 |
4 |
HEXAGON NUT M 10 VERZ. (86200002251)
|
446 RON |
|
| 126 |
1 |
5 |
WASHER 10X22X2 ET (86341671203)
|
105 RON |
|
| 127 |
1 |
1 |
PRESSURE PLATE ET (81382668126)
|
10288 RON |
|
| 128 |
1 |
1 |
SPLITTING BLADE ET (81382671216)
|
18341 RON |
|
| 129 |
1 |
1 |
RIVING KNIFE CARRIER ET (81380668145)
|
10288 RON |
|
| 130 |
1 |
1 |
SUCTION HOSE D32/ L=600 ET (81010671228)
|
955 RON |
|
| 131 |
1 |
1 |
DUST EXTRACTION OUTLET FESTSTEHEND /ET (81388672010)
|
13756 RON |
|
| 132 |
1 |
1 |
HEXAGON SOCKET HEAD CAP SCREW M 6X45 VER (86121029632)
|
446 RON |
|
| 133 |
1 |
1 |
GUIDE RAIL ET (81381671239)
|
24046 RON |
|
| 134 |
1 |
2 |
HEXAGON NUT, PREV. TORQUE TYPE (86202002313)
|
446 RON |
|
| 135 |
1 |
1 |
AXLE ET (81385671276)
|
488 RON |
|
| 136 |
1 |
10 |
WAVE SPRING WASHER 20X10,2X0,8 ET (86302671280)
|
105 RON |
|
| 137 |
1 |
1 |
HEIGHT-ADJUSTMENT ET (81383671295)
|
19236 RON |
|
| 138 |
1 |
1 |
1383671309
|
- |
Indisponibil |
| 139 |
1 |
1 |
SAFETY PIN ET (81385671314)
|
7157 RON |
|
| 140 |
1 |
1 |
RETAINING RING ET (86400671328)
|
105 RON |
|
| 141 |
1 |
2 |
HEXAGON NUT, PREV. TORQUE TYPE (86202002291)
|
Indisponibil |
Indisponibil |
| 142 |
1 |
2 |
86174671336
|
- |
Indisponibil |
| 143 |
1 |
3 |
WAVE SPRING WASHER 18X6,2X0,6 ET (86302671344)
|
781 RON |
|
| 145 |
1 |
1 |
CLAMPING SLEEVE 5X20 ET (86503671350)
|
105 RON |
|
| 146 |
1 |
1 |
SETTING TUBE ET (81388671366)
|
2848 RON |
|
| 147 |
1 |
1 |
Cap screw (86121000812)
|
446 RON |
|
| 148 |
1 |
1 |
SETTING LEVER ET (81382671372)
|
41718 RON |
|
| 149 |
1 |
1 |
HANDLE ET (81381671387)
|
2459 RON |
|
| 150 |
1 |
1 |
HEXAGON HEAD SCREW M 10X35 VERZ. (86103001240)
|
446 RON |
|
| 151 |
1 |
1 |
HEXAGON NUT (86200017992)
|
446 RON |
|
| 152 |
1 |
1 |
WASHER (86305002494)
|
446 RON |
|
| 153 |
1 |
2 |
CROSS RECESSED FLAT HEAD SCREW M 6X16 VE (86131047582)
|
446 RON |
|
| 154 |
1 |
1 |
WASHER 32X41X0,25 ET (81388667644)
|
1564 RON |
|
| 155 |
1 |
1 |
CIRCLIP FOR BORES SR 42 ET (86400671395)
|
105 RON |
|
| 156 |
1 |
8 |
WASHER 8X16X1,5 ET (81388666770)
|
105 RON |
|
| 157 |
1 |
2 |
SAFETY PIN ET (81385671403)
|
2124 RON |
|
| 158 |
1 |
2 |
SETTING LEVER ET (81388671412)
|
18341 RON |
|
| 159 |
1 |
2 |
WASHER 8X22X1,5 ET (86341671428)
|
5479 RON |
|
| 160 |
1 |
1 |
RATCHET LOCK LEVER, MALE M 8X25 (87006088990)
|
3689 RON |
|
| 161 |
1 |
8 |
WASHER 8X22X2,5 ET (81388666761)
|
Indisponibil |
Indisponibil |
| 162 |
1 |
1 |
TILT STOP, ASSEMBLY ET (81380671430)
|
Indisponibil |
Indisponibil |
| 164 |
1 |
1 |
TENSION SPRING ET (81388668438)
|
Indisponibil |
Indisponibil |
| 165 |
1 |
3 |
HEXAGON HEAD SCREW M 8X12 ET (86103667044)
|
105 RON |
|
| 166 |
1 |
1 |
AXLE ET (81385671462)
|
24046 RON |
|
| 167 |
1 |
1 |
SEAT,SAWBLADE ET (81385671470)
|
78180 RON |
|
| 168 |
1 |
1 |
SHAFT ET (81385671489)
|
19236 RON |
|
| 169 |
1 |
1 |
DEEP GROOVE BALL BEARING (87100016995)
|
488 RON |
|
| 170 |
1 |
1 |
CLAMPING SLEEVE 3X16 (86503001657)
|
446 RON |
|
| 171 |
1 |
1 |
SET SCREW ET (81385671497)
|
2848 RON |
|
| 172 |
1 |
1 |
1380671502
|
- |
Indisponibil |
| 173 |
1 |
1 |
GUIDE SLEEVE ET (81388671510)
|
34448 RON |
|
| 174 |
1 |
1 |
SEAT, MOTOR ET (81380671529)
|
83437 RON |
|
| 175 |
1 |
1 |
FLAT BELT 630X20 ET (87232671534)
|
24046 RON |
|
| 176 |
1 |
1 |
V-BELT PULLEY ET (87240671543)
|
64311 RON |
|
| 177 |
1 |
1 |
WASHER ET (86341671556)
|
105 RON |
|
| 180 |
1 |
1 |
FASTENING SCREW ET (81385671560)
|
18341 RON |
|
| 181 |
1 |
1 |
CAP ET (81380671570)
|
13756 RON |
|
| 182 |
1 |
1 |
SPACING COLLAR ET (81385671586)
|
78180 RON |
|
| 183 |
1 |
1 |
RETAINING RING ET (86400671590)
|
15993 RON |
|
| 184 |
1 |
1 |
COLUMN, HEIGHT ADJUSTMENT ET (81380671600)
|
171574 RON |
|
| 185 |
1 |
1 |
BALL BEARING SHIM RING 42.3X54X0.3 ET (87140670132)
|
1564 RON |
|
| 186 |
1 |
2 |
DEEP GROOVE BALL BEARING 30X55X13 6006-2 (87100017924)
|
7157 RON |
|
| 187 |
1 |
1 |
DRIVE SHAFT ET (81382671615)
|
171574 RON |
|
| 188 |
1 |
1 |
FLAT BELT 1030X20 ET (87232671623)
|
24046 RON |
|
| 189 |
1 |
1 |
1380671634
|
- |
Indisponibil |
| 190 |
1 |
1 |
WORM GEAR ET (81385671640)
|
34448 RON |
|
| 191 |
1 |
1 |
RETAINING RING FOR SHAFTS ET (86400671654)
|
190 RON |
|
| 196 |
1 |
3 |
8240027799
|
- |
Indisponibil |
| 198 |
1 |
2 |
CABLE CLIP, SELF-ADHESIVE ET (88242671679)
|
190 RON |
|
| 199 |
1 |
2 |
Fillister head screw (86123084690)
|
446 RON |
|
| 200 |
1 |
1 |
MICRO SWITCH ET (88116671680)
|
3698 RON |
|
| 201 |
1 |
1 |
8013671703
|
- |
Indisponibil |
| 202 |
1 |
1 |
8191671717
|
- |
Indisponibil |
| 204 |
1 |
5 |
CABLE CLIPS ET (88490671723)
|
781 RON |
|
| 205 |
1 |
2 |
UNION ET (81388671730)
|
2124 RON |
|
| 220 |
1 |
1 |
MITRE FENCE ASSEMBLY MULTI 260/310 /ET (81010678532)
|
197187 RON |
|
| 221 |
1 |
1 |
SETTING KNOB ET (81388669540)
|
21361 RON |
|
| 222 |
1 |
3 |
STARKNOB NUT M 6 (DIN 934) VERZINKT (87000025466)
|
781 RON |
|
| 223 |
1 |
2 |
DISTANCE SLEEVE ET (81385672043)
|
190 RON |
|
| 225 |
1 |
1 |
GUIDE RAIL ET (81382672069)
|
18341 RON |
|
| 226 |
1 |
2 |
Cap screw (86121000812)
|
446 RON |
|
| 227 |
1 |
2 |
GUIDE SLEEVE ET (81385672078)
|
5479 RON |
|
| 228 |
1 |
1 |
GUIDE SLEEVE ET (81385672086)
|
11519 RON |
|
| 229 |
1 |
1 |
SETTING SEGMENT ET (81385672094)
|
21361 RON |
|
| 230 |
1 |
1 |
MITRE FENCE BODY ET (81382672107)
|
21361 RON |
|
| 231 |
1 |
2 |
6131001531
|
- |
Indisponibil |
| 232 |
1 |
1 |
GUIDE PLATE ET (81382672115)
|
34448 RON |
|
| 233 |
1 |
1 |
STARKNOB SCREW RD40/M8X28 (DIN 933) VERZ (87001017777)
|
105 RON |
|
| 234 |
1 |
2 |
CAP NUT M 4 VERZ. (86201001437)
|
446 RON |
|
| 235 |
1 |
1 |
ANGLE SCALE 0-45 GRAD ET (81142672126)
|
11519 RON |
|
| 236 |
1 |
1 |
GUIDE RAIL ET (81382672131)
|
8275 RON |
|
| 237 |
1 |
1 |
GUIDE RAIL ET (81382672140)
|
19236 RON |
|
| 241 |
1 |
1 |
PRESSURE PIECE MILLING GUIDE ET (81385672159)
|
5926 RON |
|
| 242 |
1 |
1 |
RULER-EXIT ET (81384672163)
|
24046 RON |
|
| 243 |
1 |
2 |
CLAMPING SLEEVE 8X25 ET (86503672195)
|
105 RON |
|
| 244 |
1 |
1 |
HEX. SOCKET SET SCREW, FLAT PT M 6X10 ET (86161667380)
|
105 RON |
|
| 245 |
1 |
1 |
CLAMPING ARM CAP ET (81385672191)
|
93951 RON |
|
| 246 |
1 |
2 |
Thumb-nut (87005135529)
|
781 RON |
|
| 248 |
1 |
1 |
RETAINING RING FOR SHAFTS 18X1,2 (86400045737)
|
446 RON |
|
| 249 |
1 |
1 |
PRESSURE SPRING ET (81388672184)
|
3689 RON |
|
| 250 |
1 |
1 |
CHIPCASE ET (81010672208)
|
295725 RON |
|
| 252 |
1 |
2 |
STARKNOB ET (81381672243)
|
8275 RON |
|
| 253 |
1 |
1 |
SETTING WHEEL ET (81381672219)
|
10288 RON |
|
| 254 |
1 |
2 |
UNION ET (81388672222)
|
105 RON |
|
| 255 |
1 |
1 |
1385672230
|
- |
Indisponibil |
| 256 |
1 |
5 |
HEX. SOCKET SET SCREW, FLAT PT M 6X20 VE cod vechi 86161030528 (141124480)
|
446 RON |
|
| 257 |
1 |
1 |
RULER-INPUT ET (81384672171)
|
24046 RON |
|
| 258 |
1 |
1 |
BRIDGE PROTECTOR ET (81014674396)
|
197187 RON |
|
| 260 |
1 |
2 |
CAP ET (81382672263)
|
21361 RON |
|
| 261 |
1 |
2 |
WHEEL RD 80 ET (87270672277)
|
10288 RON |
|
| 262 |
1 |
2 |
AXLE ET (81385672280)
|
2459 RON |
|
| 263 |
1 |
1 |
HANDLE D=24 ET (81381672294)
|
3018 RON |
|
| 264 |
1 |
1 |
TRANSPORT ROD ET (81385672302)
|
30980 RON |
|
| 265 |
1 |
1 |
81011672023
|
- |
Indisponibil |
| 266 |
1 |
1 |
SCALE 798X15 ET (81142674145)
|
39481 RON |
|
| 267 |
1 |
1 |
SUPPORT EXTRUSION L=800 ET (81383674154)
|
49212 RON |
|
| 268 |
1 |
2 |
HEX.SOCKET COUNTERS.HEAD SCREW (86132127741)
|
446 RON |
|
| 269 |
1 |
1 |
PUSH PIECE ET (81384672031)
|
5479 RON |
|
| 271 |
1 |
1 |
WORKPIECE HOLDER ET (81011659400)
|
59166 RON |
|
| 272 |
1 |
1 |
STARKNOB SCREW RD40/M6X23 (DIN 933) VERZ (87001017769)
|
781 RON |
|
| 273 |
1 |
1 |
WORK CLAMP ET (81010674170)
|
41718 RON |
|
| 275 |
1 |
2 |
END PLATE ET (81382674665)
|
18341 RON |
|
| 276 |
1 |
1 |
LOCKING PLATE LINKS /ET (81382674029)
|
11519 RON |
|
| 277 |
1 |
3 |
KNURLED THUMB SCREW M 5X16 ET (87009674343)
|
1340 RON |
|
| 278 |
1 |
1 |
1383674650
|
- |
Indisponibil |
| 279 |
1 |
1 |
LOCKING PLATE RECHTS /ET (81382674037)
|
11519 RON |
|
| 280 |
1 |
1 |
GLIDE BLOCK ET (81388674047)
|
955 RON |
|
| 281 |
1 |
12 |
RAISED CHEESE HEAD SCREW M 8X45 ET (86123667270)
|
781 RON |
|
| 282 |
1 |
2 |
HEAD PLATE OBEN /ET (81382674061)
|
7157 RON |
|
| 283 |
1 |
2 |
HEAD PLATE UNTEN /ET (81382674070)
|
8275 RON |
|
| 284 |
1 |
1 |
SLIDING CARRIAGE L=1080 ET (81383674081)
|
197187 RON |
|
| 285 |
1 |
1 |
ROLLER FRAME ET (81381674092)
|
5479 RON |
|
| 286 |
1 |
8 |
BALL RD 12 ET (81388668888)
|
105 RON |
|
| 287 |
1 |
1 |
COVER PANEL ET (81482674107)
|
5926 RON |
|
| 288 |
1 |
1 |
HEXAGON NUT, PREV. TORQUE TYPE (86202002283)
|
446 RON |
|
| 289 |
1 |
1 |
BOLT ET (81482674115)
|
488 RON |
|
| 290 |
1 |
1 |
SUPPORT EXTRUSION L=1080 ET (81482674123)
|
117663 RON |
|
| 291 |
1 |
1 |
GUIDE ET (81382674134)
|
5926 RON |
|
| 295 |
1 |
1 |
RIP FENCE ASSEMBLY MULTI 260 /ET (81010678540)
|
343820 RON |
|