Acasa
Atelierultau.ro
Continut cos
TRANSPORT
Contul meu
Contact
Cauta produsul dorit:
Bun venit! [
Autentificare!
]
In cos:
0 produse
Top
»
Piese de schimb
»
PIESE METABO
»
30476000
Milling plate - 30476000 - -
[30476000]
Click pentru a mari
Imagini suplimentare
Click pentru a mari
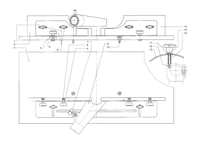
LISTA DE COMPONENTE:
Numar
Versiune
Buc. in schema
Denumire
Pret/buc
(Tva inclus)
Cumpara
1
1
1
Guide (339120110)
192
36
RON
2
1
1
Wooden strip l. (344500310)
82
75
RON
3
1
1
Base plate (344500320)
284
8
RON
4
1
6
Washer Washer cod vechi 86300016365 (141151940)
4
46
RON
5
1
2
Truss head screw (141118830)
4
46
RON
6
1
6
Thumb-nut (341111010)
10
5
RON
7
1
1
Thumbscrew (341111030)
10
5
RON
8
1
4
Hexagon head screw (141113290)
4
46
RON
9
1
1
Exhaust nozzle (344092150)
183
41
RON
10
1
2
Cap screw (141111330)
4
46
RON
11
1
1
Washer (141151340)
4
46
RON
12
1
1
Hexagonal nut (141131010)
4
46
RON
13
1
1
Hand guard (343353070)
54
79
RON
14
1
1
Wooden strip r. (344500300)
82
75
RON
15
1
1
Star knob (341111520)
30
18
RON
16
1
1
Spacer bush (341049450)
15
64
RON
Conditii Generale