Cauta produsul dorit:
Bun venit! [Autentificare!] In cos: 0 produse








Top » Piese de schimb » PIESE METABO » 0021075108 10

MIG/MAG 501 PEC - 0021075108 10 - 3 / 400V/50Hz
[0021075108 10]

MIG/MAG 501 PEC - 0021075108 10 - 3 / 400V/50Hz
Click pentru a mari
Imagini suplimentare
MIG/MAG 501 PEC - 0021075108 10 - 3 / 400V/50Hz
Click pentru a mari
MIG/MAG 501 PEC - 0021075108 10 - 3 / 400V/50Hz
Click pentru a mari
MIG/MAG 501 PEC - 0021075108 10 - 3 / 400V/50Hz
Click pentru a mari
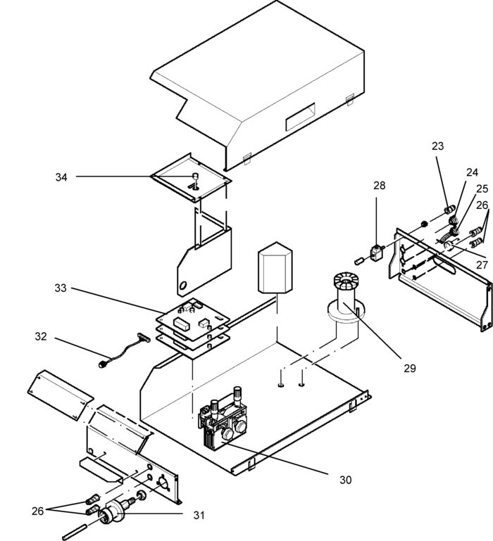
LISTA DE COMPONENTE:
Numar Versiune Buc. in schema Denumire Pret/buc
(Tva inclus)
Cumpara
1 1 1 PILOT LEAD 4X0,75X1500 A=4XFH ZUGE. B=KU (81002621750) 2848 RON
3 1 1 CABLE SOCKET 50 MM2 (88215037917) 7157 RON
5 1 1 1327621722 - Indisponibil
7 1 1 IMPELLER RD 230 MM F?RDERRICHTG. V (81327621714) 5479 RON
8 1 1 FAN MOTOR 10W / 230V / 50HZ (88041621738) 41718 RON
9 1 1 RIGID PLATE CASTER RD 160 (87271630772) 19236 RON
10 1 1 8106630845 - Indisponibil
11 1 1 SWIVEL PLATE CASTER RD 160 (87271630780) 26730 RON
12 1 1 PANEL SOCKET ASSEMBLY 70/95 MM2 MIT ISOL (88215080707) 955 RON
14 1 1 MAIN SWITCH 32 A (88112139215) 54357 RON
15 1 1 THERMAL OVERLOAD SWITCH R 20 130 GRAD OH (88102000219) 488 RON
16 1 1 PILOT TRANSFORMER 2X 28V 250VA EI 120/41 (88056139290) 59166 RON
17 1 1 CURRENT CONTROL UNIT (88106630861) 589663 RON
18 1 1 8051161085 - Indisponibil
19 1 1 PRINTED CIRCUIT BOARD TYP: NTCPU 1 (88106631205) 589663 RON
22 1 1 PRINTED CIRCUIT BOARD TYP: PEC-LOGIK (88106631213) 492019 RON
23 1 1 QUICK COUPLING 1-TEILIG O.MUTTER U.SCHLA (87710155601) 5926 RON
24 1 1 8215144438 - Indisponibil
26 1 1 QUICK COUPLING 2-TEILIG M.MUTTER U.SCHLA (87710004883) 10288 RON
27 1 1 PANEL-MOUNTED PLUG 50/70 MM2 MIT ISOLIER (88215153410) 10288 RON
28 1 1 SOLENOID VALVE 24/1/50 P=13BAR 2X1/8"IG (88052153396) 19236 RON
29 1 1 ARBOR ASSEMBLY, SPOOL CARRIER (81321073880) 13756 RON
31 1 1 1327133868 - Indisponibil
33 1 1 PILOT MODULE ASSEMBLY (88106631442) 492019 RON
34 1 1 MOMENTARY SWITCH -EIN- (ROT) (88191622236) 4249 RON
36 1 1 WIRE FEED MOTOR 24 V (88011194509) 14839 RON
37 1 1 GEARWHEEL RD 34/16X18 Z=15 MIT NUT (81325609610) 2459 RON
38 1 1 PRESSURE ADJUSTER ASSEMBLY ET (81002624644) 13756 RON
39 1 1 SLEEVE, WIRE LEAD-IN (81321609801) 446 RON
40 1 1 CASING, WIRE FEED 4-ROLLEN ANTRIEB (81321615216) 15993 RON
42 1 1 GEARWHEEL RD 25/16X18 Z=15 OHNE NUT (81321609844) 781 RON
43 1 1 1325622357 - Indisponibil
46 1 1 STARKNOB NUT M 6 (DIN 934) VERZINKT (87000025466) 781 RON
47 1 1 LEVER, PRESSURE ADJUSTER ET (81002638181) 19236 RON
48 1 1 LEVER, PRESSURE ADJUSTER ET (81002638190) 19236 RON

Conditii Generale