Acasa
Atelierultau.ro
Continut cos
TRANSPORT
Contul meu
Contact
Cauta produsul dorit:
Bun venit! [
Autentificare!
]
In cos:
0 produse
Top
»
Piese de schimb
»
PIESE METABO
»
31691000
Machine stand - 31691000 - -
[31691000]
Click pentru a mari
Imagini suplimentare
Click pentru a mari
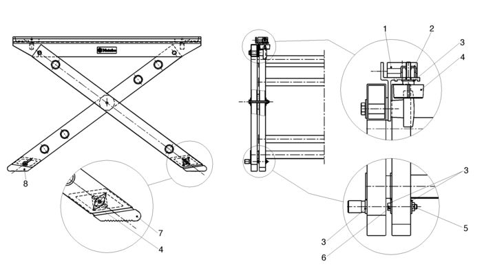
LISTA DE COMPONENTE:
Numar
Versiune
Buc. in schema
Denumire
Pret/buc
(Tva inclus)
Cumpara
1
1
4
343371730
-
Indisponibil
2
1
4
339126610
-
Indisponibil
3
1
11
Washer (141150130)
4
46
RON
4
1
5
Thumbscrew (341111650)
7
81
RON
5
1
3
Hexagonal lock nut (141130650)
7
81
RON
6
1
3
Cheese-head screw (141111350)
4
46
RON
7
1
1
344095070
-
Indisponibil
8
1
3
344095080
-
Indisponibil
Conditii Generale