Cauta produsul dorit:
Bun venit! [Autentificare!] In cos: 0 produse








Top » Piese de schimb » PIESE METABO » 31184000

End-sanding fence - 31184000 - -
[31184000]

End-sanding fence - 31184000 - -
Click pentru a mari
Imagini suplimentare
End-sanding fence - 31184000 - -
Click pentru a mari
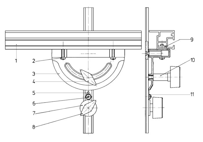
LISTA DE COMPONENTE:
Numar Versiune Buc. in schema Denumire Pret/buc
(Tva inclus)
Cumpara
1 1 1 Guide rail (341143550) 21361 RON
2 1 2 Flat headed screw (341702650) 446 RON
3 1 1 Measuring head (316019560) 26730 RON
4 1 1 Thumbscrew (341111670) 781 RON
5 1 1 Pointer (339060070) 781 RON
6 1 1 Fillister head screw (141110510) 446 RON
7 1 1 Washer (141150950) 781 RON
8 1 1 Thumbscrew (341111620) 781 RON
9 1 2 Sliding block (339002020) 2459 RON
10 1 1 Spacer sleeve (341003050) 2124 RON
11 1 1 Washer (141150010) 446 RON

Conditii Generale