Acasa
Atelierultau.ro
Continut cos
TRANSPORT
Contul meu
Contact
Cauta produsul dorit:
Bun venit! [
Autentificare!
]
In cos:
0 produse
Top
»
Piese de schimb
»
PIESE METABO
»
00890000
Drill stand 890 - 00890000 - -
[00890000]
Click pentru a mari
Imagini suplimentare
Click pentru a mari
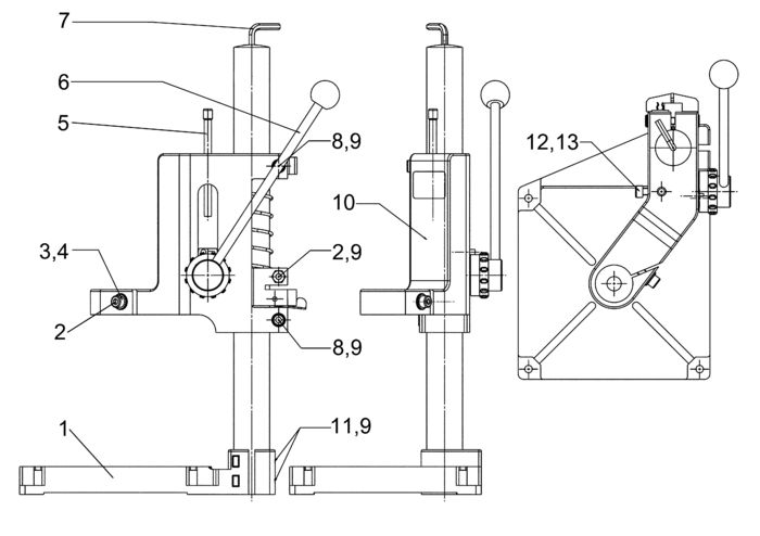
LISTA DE COMPONENTE:
Numar
Versiune
Buc. in schema
Denumire
Pret/buc
(Tva inclus)
Cumpara
1
1
1
GRUNDPLATTE (315416290)
643
11
RON
2
1
2
Cap screw (141114060)
7
81
RON
3
1
1
Square nut (141131020)
7
81
RON
4
1
1
Washer (141150800)
4
46
RON
5
1
1
Lever compl. (341515290)
469
75
RON
6
1
1
Handle compl. (316041840)
240
46
RON
7
1
1
Hexagonal key (344161510)
7
81
RON
8
1
2
Cap screw (141114050)
10
5
RON
9
1
5
Hexagonal nut (141131010)
4
46
RON
10
1
1
Tool holder (315416300)
781
80
RON
11
1
2
Cap screw (141114040)
4
46
RON
12
1
1
Cap screw (141114000)
7
81
RON
13
1
1
Retaining ring (141180080)
4
46
RON
Conditii Generale