Cauta produsul dorit:
Bun venit! [Autentificare!] In cos: 0 produse








Top » Piese de schimb » PIESE METABO » 0910060155 10

CLAMPING DEVICE PKU 250 - 0910060155 10 - -
[0910060155 10]

CLAMPING DEVICE PKU 250 - 0910060155 10 - -
Click pentru a mari
Imagini suplimentare
CLAMPING DEVICE PKU 250 - 0910060155 10 - -
Click pentru a mari
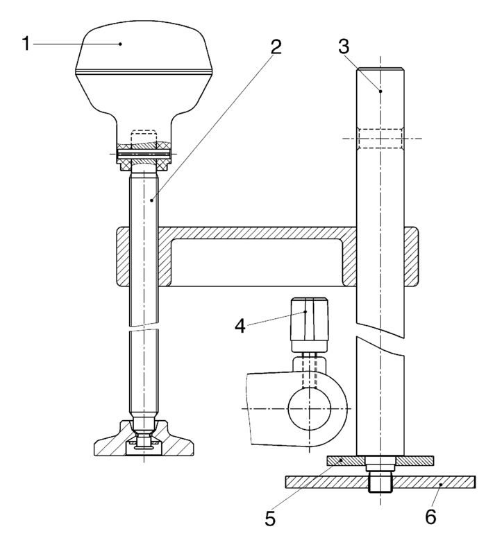
LISTA DE COMPONENTE:
Numar Versiune Buc. in schema Denumire Pret/buc
(Tva inclus)
Cumpara
1 1 1 HANDLE, UPPER (81388660046) 105 RON
2 1 1 1010698835 - Indisponibil
3 1 1 1382698823 - Indisponibil
4 1 1 THUMB SCREW M 6X16 (86150657243) 781 RON
5 1 1 6341698853 - Indisponibil
6 1 1 1382698840 - Indisponibil

Conditii Generale