Cauta produsul dorit:
Bun venit! [Autentificare!] In cos: 0 produse








Top » Piese de schimb » PIESE METABO » 0010041104 10

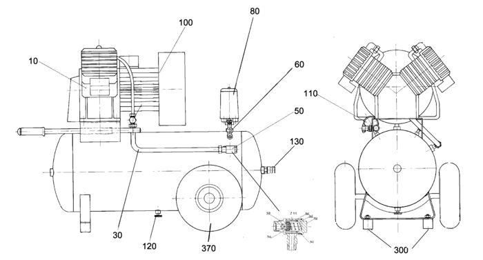
LP 400/10/60 WE - 0010041104 10 - EU 230V
[0010041104 10]

LP 400/10/60 WE - 0010041104 10 - EU 230V
Click pentru a mari
Imagini suplimentare
LP 400/10/60 WE - 0010041104 10 - EU 230V
Click pentru a mari
LP 400/10/60 WE - 0010041104 10 - EU 230V
Click pentru a mari
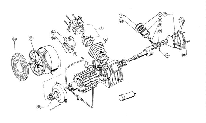
LISTA DE COMPONENTE:
Numar Versiune Buc. in schema Denumire Pret/buc
(Tva inclus)
Cumpara
2 1 1 1310165570 - Indisponibil
6 1 1 1319161690 - Indisponibil
7 1 1 PISTON RING RD 60X2 ET (81319164100) 13756 RON
8 1 1 DIP STICK ET (81319156840) 955 RON
9 1 1 AIR FILTER ELEMENT ET (81319632391) 488 RON
10 1 1 1313111853 - Indisponibil
12 1 1 1319632421 - Indisponibil
13 1 1 1319161925 - Indisponibil
14 1 1 OIL SPLASH NEEDLE ET (81319164789) 190 RON
17 1 1 PISTON RD 60 ET (81319163766) 2848 RON
21 1 1 PISTON RING RD 60X2 ET (81319164118) 15993 RON
22 1 1 OIL WIPING RING RD 60X3 ET (81319164126) 18341 RON
23 1 1 1319632499 - Indisponibil
30 1 1 COPPER PIPE RD 15X1X570 GEBOGEN /ET (81317112072) 8275 RON
31 1 1 PACKING RING RD 8,4 ET (87631166576) 781 RON
39 1 1 DEEP GROOVE BALL BEARING 25X52X15 6205-2 (87100010202) 488 RON
50 1 1 1001130591 - Indisponibil
55 1 1 FAN GRID ET (81319632448) 21361 RON
59 1 1 AIR FILTER CAP ET (81311632457) 488 RON
60 1 1 SAFETY VALVE R 1/4" 10 BAR (87833009600) 19236 RON
61 1 1 AIR FILTER CASING ET (81311632414) 5479 RON
80 1 1 8101148468 - Indisponibil
100 1 1 RELIEF VALVE EV 5 MECHANISCH (87834025994) 18341 RON
110 1 1 7823042331 - Indisponibil
120 1 1 DRAIN VALVE R 1/4" GRO? /ET (87830009595) 7157 RON
300 1 1 RUBBER DOOR STOP RD 40X35 65 SHORE (87056016400) 1564 RON
340 1 1 PRESSURE SPRING RD 1XDM 15X40 ROSTFREI (87051052638) 446 RON
341 1 1 1311052620 - Indisponibil
342 1 1 CAGE RD 27,5X26 (81311052310) 105 RON
343 1 1 VALVE BODY R 1/2" AG X RD 15 (81310051485) 955 RON
350 1 1 THREADED PLUG C M30X1,5 (86109055202) 8275 RON
370 1 1 WHEEL, PNEUMATIC TYRE RD 260/85 NABE 20X (87270118016) 21361 RON
7000 1 1 VALVE WITH COPPER PACKING ET (81319627592) 24046 RON
7005 1 1 CYLINDER HEAD GASKET ET (81319156514) 7157 RON

Conditii Generale