Cauta produsul dorit:
Bun venit! [Autentificare!] In cos: 0 produse








Top » Piese de schimb » PIESE METABO » 0141010026 10

TF 100M/2,20 WN - 0141010026 10 - GB 230V
[0141010026 10]

TF 100M/2,20 WN - 0141010026 10 - GB 230V
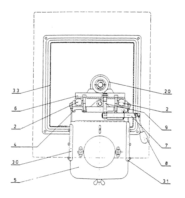
Click pentru a mari
Imagini suplimentare
TF 100M/2,20 WN - 0141010026 10 - GB 230V
Click pentru a mari
TF 100M/2,20 WN - 0141010026 10 - GB 230V
Click pentru a mari
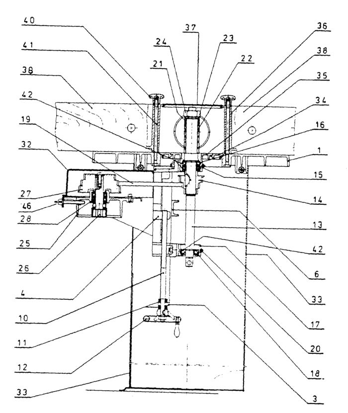
LISTA DE COMPONENTE:
Numar Versiune Buc. in schema Denumire Pret/buc
(Tva inclus)
Cumpara
1 1 1 MOULDING TABLE (81390017029) 14839 RON
2 1 1 1385154697 - Indisponibil
3 1 1 1492024712 - Indisponibil
4 1 1 1390016901 - Indisponibil
5 1 1 1392016941 - Indisponibil
6 1 1 CLAMPING PAD U 40X20X5X180 (81392016950) 4249 RON
7 1 1 SPANNER SCHAFT RD 16X140 (81395016446) 7157 RON
8 1 1 HANDLE BAR M8 (81395016969) 8275 RON
9 1 1 EYE BOLT M 12X80 VERZ. FORM B (86141016693) 488 RON
10 1 1 THREADED SPINDLE RD 14X284 (81395016470) 955 RON
11 1 1 DEEP GROOVE BALL THRUST BEARG. 51100 (10 (87103016805) 4249 RON
12 1 1 1014129932 - Indisponibil
13 1 1 CUTTER SPINDLE RD 50X390 ET (81385214592) 4442 RON
14 1 1 POLY-RIB PULLEY 4JX 63 / RDA 63X50 RDI M (87240076521) 13756 RON
15 1 1 DEEP GROOVE BALL BEARING (87100016812) 5479 RON
16 1 1 BEARING SHELL, TOP RD 59,5X30 (81395016888) 955 RON
17 1 1 BEARING SHELL, LOWER ROHR 59,5X9,75X34 (81395016896) 955 RON
18 1 1 DEEP GROOVE BALL BEARING 20X47X14 6204-2 (87100016820) 488 RON
19 1 1 POLY-RIB BELT 4 PJ 711 (87233072502) Indisponibil Indisponibil
20 1 1 U-BOLT M 8 (86159016658) 1564 RON
21 1 1 1385099793 - Indisponibil
22 1 1 1385099777 - Indisponibil
23 1 1 1385099769 - Indisponibil
24 1 1 1385099750 - Indisponibil
25 1 1 1385099785 - Indisponibil
26 1 1 1014135215 - Indisponibil
27 1 1 POLY-RIB PULLEY RDA 115X61,5 4JX112 RDI (87240076513) 21361 RON
28 1 1 BRACKET BL 2,99X26X192 (81482214610) 4249 RON
30 1 1 1391016840 - Indisponibil
31 1 1 GUIDE STRIP, RIGHT 30X33X182 RECHTS (81391006101) 1564 RON
32 1 1 COVER 68X210X262 (81391006080) 19236 RON
34 1 1 TABLE RING RDA 170,2X15 GRO? (81390017037) 11519 RON
35 1 1 TABLE RING RDA 111,5X15 KLEIN (81390017045) 955 RON
36 1 1 FENCE (81390017053) 68673 RON
37 1 1 SLIDE COVER 8X114X162 (81391006098) 3018 RON
38 1 1 1393028919 - Indisponibil
40 1 1 STARKNOB NUT (87000017730) 781 RON
41 1 1 STUD BOLT M 8X160 (86631017019) 781 RON
42 1 1 O-RING 46,20X3,00 (87632016730) 781 RON
7000 1 1 MOTOR, SPINDLE MOULDER 2,20 WN (GB) 230 (81014647640) 343820 RON
7001 1 1 SWITCH KSK WN UC230V M=11,5A K400/NKA3/K (88133214640) 68673 RON
7002 1 1 CAPACITOR 37,5uF/400V 45,5X93 BOLZEN M 8 (88050011829) 10288 RON

Conditii Generale