Cauta produsul dorit:
Bun venit! [Autentificare!] In cos: 0 produse








Top » Piese de schimb » PIESE METABO » 0910006568 10

SW 6 - 0910006568 10 - EU 230V
[0910006568 10]

SW 6 - 0910006568 10 - EU 230V
Click pentru a mari
Imagini suplimentare
SW 6 - 0910006568 10 - EU 230V
Click pentru a mari
SW 6 - 0910006568 10 - EU 230V
Click pentru a mari
SW 6 - 0910006568 10 - EU 230V
Click pentru a mari
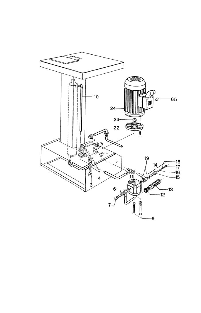
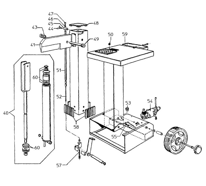
LISTA DE COMPONENTE:
Numar Versiune Buc. in schema Denumire Pret/buc
(Tva inclus)
Cumpara
3 1 1 6106625792 - Indisponibil
4 1 1 PACKING RING 3/8" ET (81388625801) 105 RON
6 1 1 PACKING RING 18X24X1,5 ET (81388625810) 1340 RON
7 1 1 1388625828 - Indisponibil
10 1 1 HYDRAULIC HOSE ET (81388683208) 39481 RON
11 1 1 PUMP, HYDRAULIC FLUID ET (87780607054) 245282 RON
12 1 1 GASKET, OIL FILTER ET (81388624791) 5479 RON
13 1 1 OIL FILTER ET (81388624783) 21361 RON
14 1 1 1010625846 - Indisponibil
15 1 1 1388625852 - Indisponibil
16 1 1 1388625860 - Indisponibil
17 1 1 1388625879 - Indisponibil
18 1 1 1388625887 - Indisponibil
19 1 1 PACKING RING 14X20X1,5 ET (81388625895) 105 RON
22 1 1 MOTOR FLANGE ET (81385607047) 19236 RON
23 1 1 CLUTCH, MOTOR/PUMP ET (81388607099) 30980 RON
24 1 1 ELECTRIC MOTOR 1X240V 50HZ ET (88012607181) 245282 RON
30 1 1 PILOT LEAD ET (81388625917) 30980 RON
31 1 1 RETAINING RING RD 15 ET (81388625925) 781 RON
32 1 1 LOCKING PIN ET (81388624775) 4249 RON
33 1 1 RETAINING RING FOR SHAFTS (86400627930) 446 RON
40 1 1 HYDRAULIC CYLINDER ASSEMBLY ET (81010626087) 197187 RON
41 1 1 SPLITTING BLADE ET (81382626075) 54357 RON
43 1 1 SPRING LOCK WASHER B 20 VERZ. (86301047329) 446 RON
45 1 1 BRACKET ET (81388626042) 15993 RON
47 1 1 HEXAGON SOCKET HEAD CAP SCREW M 14X25 VE (81388626034) 2459 RON
48 1 1 PLUG ET (81381606607) 8275 RON
50 1 1 O-RING SEAL ET (81388626018) 3018 RON
51 1 1 GUIDE BAR ET (81388626000) 3698 RON
52 1 1 SETTING ROD ET (81382625990) 955 RON
53 1 1 FILLER PLUG ET (81388625984) 5926 RON
54 1 1 1388625976 - Indisponibil
55 1 1 VENT SCREW ET (81388625950) 10288 RON
57 1 1 SPRING ET (81388625933) 3018 RON
58 1 1 INNER SHOE ET (81388606629) 7157 RON
59 1 1 1388626093 - Indisponibil
60 1 1 GASKET KIT ET (81388606971) 54357 RON
65 1 1 MOTOR PROTECTION RELA T11-611 16A 240 V (88100610346) 11519 RON
7001 1 1 6520624862 - Indisponibil
7002 1 1 1382646084 - Indisponibil
7003 1 1 1382646262 - Indisponibil
7004 1 1 TELESCOPING TUBE ET (81382677370) 197187 RON

Conditii Generale