| 1 |
1 |
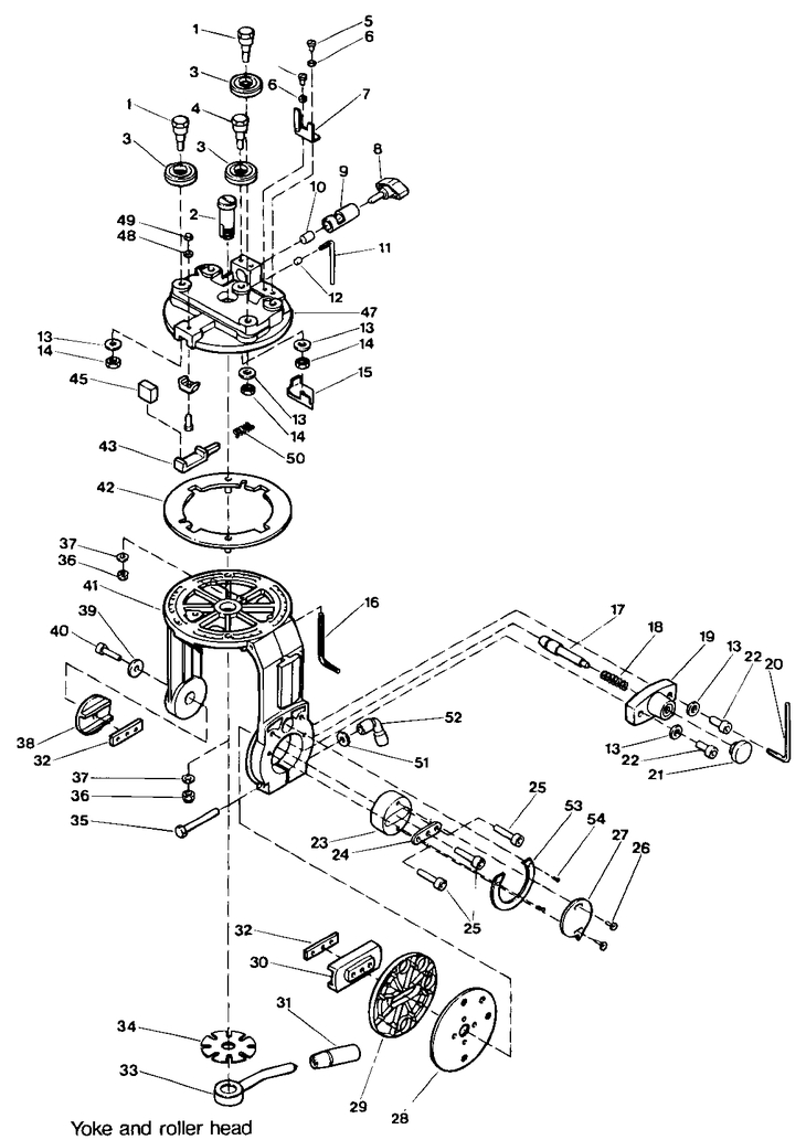
2 |
SCREW CONCENTRIC BEARING 1712 (760421-00)
|
Indisponibil |
Indisponibil |
| 2 |
1 |
1 |
PIVOT M.18X1.5 L.50 (860123-00)
|
Indisponibil |
Indisponibil |
| 3 |
1 |
3 |
BEARING SPECIAL SKF 614432-B (860154-00)
|
Indisponibil |
Indisponibil |
| 4 |
1 |
1 |
BEARING SHAFT-ECCENTRIC DW125- (760417-00)
|
Indisponibil |
Indisponibil |
| 5 |
1 |
2 |
SCREW PAN PH A M4X8 DIN 7516 (860238-04)
|
Indisponibil |
Indisponibil |
| 6 |
1 |
2 |
WASHER FLAT 4.3X9 UNI 6592 (860073-00)
|
Indisponibil |
Indisponibil |
| 7 |
1 |
1 |
000000-00
|
- |
Indisponibil |
| 8 |
1 |
1 |
KNOB D.40X16-M8X23-BLACK (862427-00)
|
Indisponibil |
Indisponibil |
| 9 |
1 |
1 |
RIP LOCK (SLEEVE) (860121-00)
|
Indisponibil |
Indisponibil |
| 10 |
1 |
1 |
LOCK (PISTON) (860122-00)
|
Indisponibil |
Indisponibil |
| 11 |
1 |
1 |
WRENCH HEX 3 UNI 6753 (938539-00)
|
Indisponibil |
Indisponibil |
| 12 |
1 |
1 |
SCREW SET M.6X6 UNI 5929 (860088-27)
|
Indisponibil |
Indisponibil |
| 13 |
1 |
4 |
WASHER SPRING CON.D8.2X18X1 (860074-03)
|
Indisponibil |
Indisponibil |
| 14 |
1 |
3 |
NUT HEX THICK M.8X1 UNI 5587 (860083-08)
|
Indisponibil |
Indisponibil |
| 15 |
1 |
1 |
CAP FOR ROLLERHEAD (860817-01)
|
Indisponibil |
Indisponibil |
| 16 |
1 |
1 |
WRENCH (949882-01)
|
Indisponibil |
Indisponibil |
| 17 |
1 |
1 |
LOCATING PLUG (863977-00)
|
Indisponibil |
Indisponibil |
| 18 |
1 |
1 |
SPRING PUSHER D13XD1 2X39 (860112-11)
|
Indisponibil |
Indisponibil |
| 19 |
1 |
1 |
SUPPORT FOR INDEX PIN YOKE (860835-00)
|
Indisponibil |
Indisponibil |
| 20 |
1 |
1 |
WRENCH HEX 6 UNI 6753 (860098-04)
|
Indisponibil |
Indisponibil |
| 21 |
1 |
1 |
KNOB (946469-00)
|
Indisponibil |
Indisponibil |
| 22 |
1 |
2 |
SCREW SOCKET M.8X20 UNI 5931 (860093-07)
|
Indisponibil |
Indisponibil |
| 23 |
1 |
1 |
HUB FRONT YOKE D.54 BLANK (860119-01)
|
Indisponibil |
Indisponibil |
| 24 |
1 |
1 |
PLATE FOR HUBE (860120-00)
|
Indisponibil |
Indisponibil |
| 25 |
1 |
3 |
SCREW SOCKET M.8X25 UNI 5931 (860093-02)
|
Indisponibil |
Indisponibil |
| 26 |
1 |
2 |
SCREW PAN PH/TT M.4X10UNI8112 (860094-03)
|
Indisponibil |
Indisponibil |
| 27 |
1 |
1 |
000000-00
|
- |
Indisponibil |
| 28 |
1 |
1 |
PLATE INDEX YOKE-MOTOR DW1251 (860830-00)
|
Indisponibil |
Indisponibil |
| 29 |
1 |
1 |
GASKET FOR YOKE HUBE DW1251 (860827-00)
|
Indisponibil |
Indisponibil |
| 30 |
1 |
1 |
BRACKET FRONT YOKE-MOT.DW1251 (860828-00)
|
Indisponibil |
Indisponibil |
| 31 |
1 |
1 |
HANDLE D.20X67XD.10 BLACK (860796-01)
|
Indisponibil |
Indisponibil |
| 32 |
1 |
2 |
PLATE 13X55-3 HOLES M8 DW1251 (860809-00)
|
Indisponibil |
Indisponibil |
| 33 |
1 |
1 |
CLAMP YOKE/ROLLER HEAD (864057-01)
|
Indisponibil |
Indisponibil |
| 34 |
1 |
1 |
ADJUSTER SPRING WASHER (860113-00)
|
Indisponibil |
Indisponibil |
| 35 |
1 |
1 |
SCREW HEX M.8X75 UNI 5737 (860086-11)
|
Indisponibil |
Indisponibil |
| 36 |
1 |
2 |
NUT ELAST.STOP M.6 UNI 7473 (860092-02)
|
Indisponibil |
Indisponibil |
| 37 |
1 |
2 |
WASHER FLAT 6.4X12.5 UNI 6592 (720959-00)
|
Indisponibil |
Indisponibil |
| 38 |
1 |
1 |
BUSHING REAR MOT.YOKE DW1251 (860822-00)
|
Indisponibil |
Indisponibil |
| 39 |
1 |
1 |
WASHER D.8 4X24X2 (941602-00)
|
Indisponibil |
Indisponibil |
| 40 |
1 |
1 |
SCREW SOCKET M.8X30 UNI 5931 (860093-00)
|
Indisponibil |
Indisponibil |
| 41 |
1 |
1 |
GRAY YOKE DW1251 (860823-02)
|
Indisponibil |
Indisponibil |
| 42 |
1 |
1 |
THRUST RING + SCREWS (863157-00)
|
Indisponibil |
Indisponibil |
| 43 |
1 |
1 |
LOCATING CATCH DW125 (860818-01)
|
Indisponibil |
Indisponibil |
| 44 |
1 |
1 |
SCREW HEX M.5X16 UNI 5739 (860085-06)
|
Indisponibil |
Indisponibil |
| 45 |
1 |
1 |
CAP FOR LOCATING CATCH 1712US (760427-00)
|
Indisponibil |
Indisponibil |
| 46 |
1 |
1 |
INSERT ROLLERHEAD ADJUSTMENT (860816-00)
|
Indisponibil |
Indisponibil |
| 47 |
1 |
1 |
000000-00
|
- |
Indisponibil |
| 48 |
1 |
1 |
WASHER FLAT 5.3X10 UNI 6592 (860073-01)
|
Indisponibil |
Indisponibil |
| 49 |
1 |
1 |
NUT M5 (860092-03)
|
Indisponibil |
Indisponibil |
| 50 |
1 |
1 |
000000-00
|
- |
Indisponibil |
| 51 |
1 |
1 |
WASHER FLAT 8.4X17 UNI6592 ZN (860073-03)
|
Indisponibil |
Indisponibil |
| 52 |
1 |
1 |
HANDLE M.8 LOCKING ARM-YOKE (860825-00)
|
Indisponibil |
Indisponibil |
| 53 |
1 |
1 |
SCALE BEVEL DW1251 (860829-00)
|
Indisponibil |
Indisponibil |
| 54 |
1 |
2 |
SCREW TSPPH (860205-06)
|
Indisponibil |
Indisponibil |