Cauta produsul dorit:
Bun venit! [Autentificare!] In cos: 0 produse








Top » Piese de schimb » PIESE BOSCH » 2610997001

UNITATE DE BAZA (2610997001) RA1160 / 0 V /
[2610997001]

UNITATE DE BAZA  (2610997001)  RA1160 / 0 V /
Click pentru a mari
Imagini suplimentare
UNITATE DE BAZA  (2610997001)  RA1160 / 0 V /
Click pentru a mari
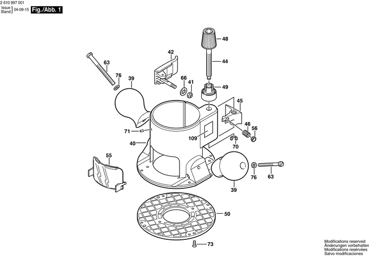
LISTA DE COMPONENTE:
Numar Versiune Buc. in schema Denumire Pret/buc
(Tva inclus)
Cumpara
39 1 2 MANER (2610991387) 4143 RON
40 1 1 2610922551 - Indisponibil
41 1 1 PIULITA HEXAGONALA M6 (1613300006) 558 RON
42 1 1 PARGHIE DE STRANGERE (2610915060) 2459 RON
44 1 1 2610991384 - Indisponibil
45 1 1 PARGHIE (2610991385) 2123 RON
46 1 1 ARC (2610991371) 781 RON
48 1 1 APARAT DE AJUSTARE (2610993576) 893 RON
49 1 1 INEL (2610993577) 1452 RON
50 1 1 PLACA DE ACOPERIRE (2610928164) 5926 RON
55 1 1 DEFLECTOR DE ASCHII (2610991389) 2123 RON
56 1 1 CAPAC DE ACOPERIRE (2610991372) 558 RON
63 1 2 SURUB CU CAP CILINDRIC DIN 84-BM6x70-5.8 (2910011219) 558 RON
66 1 1 DISC DE SIGURANTA DIN 126-9-A2 (2918660004) 558 RON
70 1 1 INEL DE SUSTINERE (2610996054) 558 RON
71 1 1 BOLT (2610994492) 558 RON
73 1 4 SURUB (2610915161) 1229 RON
76 1 2 RONDELA DIN 433-6,4-ST 50 (2916011013) 558 RON
109 1 1 2610914614 - Indisponibil

Conditii Generale